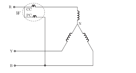
Q. 80 A wattmeter reads 400 W when its current coil is connected in the R-phase
and its pressure coil is connected between this phase and the neutral of a
symmetrical 3-phase system supplying a balanced star connected 0.8 p.f.
inductive load. This phase sequence is RYB. What will be the reading of this
wattmeter if its pressure coil alone is reconnected between the B and Y phases,
all other connections remaining as before ?
(A) 400.0
(B) 519.6
(C) 300.0
(D) 692.8
Answer:(B)
Explanation:

















