Gate ME-2006 Question Paper With Solutions

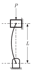
Q 8. A pin-ended column of length L, modulus of elasticity E and second moment of the cross-sectional area I is loaded centrically by a compressive load P. The critical bucking loadGate ME-2006 Question Paper With Solutions is given by
Gate ME-2006 Question Paper With Solutions

Answer: (D)

Explanation:

Gate ME-2006 Question Paper With Solutions

Gate ME-2006 Question Paper With Solutions

Learn More:   Gate ME-2020-1 Question Paper With Solutions

LEAVE A REPLY

Please enter your comment!
Please enter your name here