Gate EE-2017-2 Question Paper With Solutions

Q. 1Gate EE-2017-2 Question Paper With SolutionsAnswer: (A)

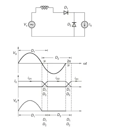
Explanation:

Gate EE-2017-2 Question Paper With Solutions

Gate EE-2017-2 Question Paper With Solutions

Learn More:   Gate CS-2013 Question Paper With Solutions

LEAVE A REPLY

Please enter your comment!
Please enter your name here